Stockbridgedemper

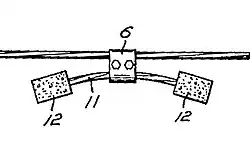
Een Stockbridgedemper is een trillingdemper die gebruikt wordt om trillen tegen te gaan in bijvoorbeeld bovengrondse hoogspanningslijnen en tuidraden. Hij bestaat uit twee gewichten die zijn vastgemaakt aan een flexibele staaf of een stugge kabel; de vorm doet denken aan een halter. De dempers worden in het midden vastgemaakt, nabij de uiteinden van de trillende lijn.
Een Stockbridgedemper is een soort gestemde massademper. De twee gewichten zijn vaak verschillend waardoor trillingen met een relatief breed frequentiegebied wordt gedempt.
Uitvinding en uitvoering

Dit type demper is genoemd naar George H. Stockbridge. Hij heeft dit type demper in 1928 uitgevonden en kreeg er op 3 juli 1928 een octrooi op.[1] Hij werkte toen als ingenieur bij de firma Southern California Edison in de Verenigde Staten. Zijn ontwerp was 75 cm lang en maakte gebruik van gewichten van beton.
Moderne dempers gebruiken vaak holle, min of meer klokvormige gewichten van metaal. De kabel wordt bevestigd in een holte in het gewicht.
Een recenter ontwerp is het "hondebotje" (dogbone), met een extra, wat kleiner gewicht dat zijdelings uitsteekt.
Trillingen en hun oorzaak
Aanhoudende wind, ook als die maar matig sterk is, kan staande golven veroorzaken in de stroomgeleiders en tuidraden. Deze trillingen kunnen schade veroorzaken.
Wind kan trillingen met diverse frequenties veroorzaken in bovengrondse lijnen, voornamelijk:
- "lijndansen" met amplitudes van enkele meters en een frequentie van 0,08 Hz tot 3 Hz.
- lijntrillen of flutter, met amplitudes van enkele millimeters tot enkele centimeters en een frequentiebereik van 3 Hz tot 150 Hz. Dit treedt vooral op bij lange en dunne lijnen.
Stockbridgedempers worden gebruikt tegen lijntrillen. Ze zijn niet bedoeld voor het tegengaan van lijndansen.
Een goede demping kan worden gerealiseerd door de massa van de gewichten en de lengte van de kabel of staaf zorgvuldig af te stemmen op de trillingsfrequentie van de lijn. Het komt voor dat op een lijn meerdere dempers worden gebruikt, voor verschillende frequenties en/of voor verschillende trillingsrichtingen. Ze worden meestal gebruikt voor het dempen van trillingen in het verticale vlak (op- en neergaand).
De dempers worden aangebracht op die plekken waar de golfuitslag het grootst is (de "buiken" van de staande golf) en die zich het dichtst bij de ophangpunten bevinden.
Toepassing
Hoogspanningslijnen
Hoogspanningsmast bij Groningen; er zijn zestien dempers zichtbaar
De grootte van Stockbridgedempers wordt duidelijk met een persoon ernaast
Vier dempers in een hoogspanningslijn
Lijntrillen kan schade veroorzaken aan de geleiders en hun ophanging. De dempers worden vooral toegepast op lijnen met slechts een of twee geleiders, en op bliksemdraden (geaarde geleiders die boven de hoogspanningsgeleiders hangen). Ter voorkoming van puntontlading hebben de gewichten een afgerond oppervlak.
Tuidraden
Dubbele dempers, in twee richtingen, met dwarsgewichten ("hondebotjes"), Severn Bridge tussen Engeland en Wales. Foto: Ian Taylor
Dempers in tuidraden van de KVLY televisiezendmast in North Dakota, Verenigde Staten
Tuidraden van antennemasten en bruggen worden soms ook voorzien van dempers, soms meerdere per tuidraad.
Externe links
- Demo/testopstelling, video op YouTube
- Dempers in actie voor een voetbrug, video op YouTube
- Voorwerpen in de draden op hoogspanningsnet.com
- 'Strategie voor Hovenring is de juiste' Eindhovens Dagblad, 30 januari 2012