Jan Heijmans (schip)
Jan Heijmans | ||||
|---|---|---|---|---|
![]() | ||||
| Geschiedenis | ||||
| Besteld | Bitumarin | |||
| Werf | Vahali Gendt (Gld) en Baan Hofman machinefabriek Gorinchem | |||
| In de vaart genomen | 1968 | |||
| Uit de vaart genomen | 1982 | |||
| Eigenaren | ||||
| Vlag | Nederlandse | |||
| Algemene kenmerken | ||||
| Type | Werk schip voor plaatsen van onderwater asfalt | |||
| Lengte | 97,20 m | |||
| Breedte | 23,30 m | |||
| Diepgang | 3 m | |||
| ||||
Het asfaltschip Jan Heijmans is in 1968 gebouwd door Bitumarin (een dochteronderneming van Heijmans en de Koninklijke Maatschappij Wegenbouw, KMW). Dit schip heeft op veel plaatsen in het Deltagebied asfaltbescherming langs oevers aangebracht, alsmede de nodige bodembeschermingen, onder andere voor de Oosterscheldekering. (N.B.: In veel publicaties wordt de naam van het schip geschreven als Jan Heymans)
Het basisontwerp
Op basis van ervaringen met het eerste asfaltschip, de Dorus Heijmans, is in 1968 een nieuw schip ontworpen, de "Jan Heijmans". Dit schip had bij de bouw een lengte van 69,6 m en een breedte van 14,55 m. Bij asfaltbanen van 5 m breed moest de productie- en verwerkingscapaciteit van het schip boven de 200 ton per uur liggen. Op die manier is een ononderbroken aanvoer van het stortmateriaal verzekerd. Het asfaltmastiek kan dan via de toevoerpijp uitvloeien tot een aaneengesloten mat. Daarbij komt de eis dat het schip stabiel genoeg moet liggen om onder normale werkomstandigheden - golven tot een halve meter en stroomsnelheden tot 2 m/s - voldoende nauwkeurig asfalt te leggen. Het schip is uitgerust met een centraal bediend lierensysteem, zodat het nauwkeurig met een voorgeschreven snelheid in een voorgeschreven baan kan worden voortbewogen. De lengte van het schip tussen de eindschotten bedraagt 69,60 m, de breedte op de spanten 14,20 m en over de berghouten 14,55 m. De holte in de zijden is 4,25 m. Het schip heeft een gemiddelde werkdiepgang van 3 m. In het casco zijn tanks ingebouwd voor ballast, zoet water en brandstof. Onderdeks bevinden zich de machinekamer, een ruimte voor de opslag van bitumen en een voor de elektrische installatie, een verwarmingsruimte, enkele magazijnen, een compressorruimte en verblijven. Bovendeks zijn verblijven, de productie-installatie, de stortapparatuur en de vulstofopslag opgesteld. Het centrale bedieningshuis bevindt zich bovenop de vulstofsilo. De productie-installatie bestaat uit een asfaltdroog- en menginstallatie met een capaciteit van maximaal 250 ton per uur. De installatie heeft een chargemenger van 5 ton inhoud die geschikt is voor het bereiden van asfaltmastiek, zandasfalt en beton. Onder de menger is een roerketel geplaatst waarin een buffervoorraad asfaltmastiek van 20 ton kan warden opgeslagen en op temperatuur gehouden en waarin tevens een zekere homogenisering naar temperatuur en mengselsamenstelling bereikt wordt. De roerketel is geplaatst op drukdozen die het gewicht ervan en dus van de asfaltmastiek doorgeven aan het bedieningspaneel. Voor de overslag van zand en andere mineralen is op het achterdek van het schip een overslagkraan opgesteld met een hijsbereik van 10 ton op 18 m, uitgerust met een hydraulische grijper van ca. 4 ton.
Werking van het systeem
De stortapparatuur heeft een werkbereik tot 30 m onder het wateroppervlak. Zij bestaat uit een verticale dubbelwandige geïsoleerde toevoerpijp van 43 m lengte, met een inwendige diameter van 72 cm. Dwars daarop staat een verdeelbuis van 5 m breed, voorzien van 8 paar uitstroomopeningen; van elk paar kan een opening worden afgesloten. Deze apparatuur is opgehangen in een bokconstructie en kan met behulp van een zware stortpijplier geheel boven het dek worden gehesen, ook als deze helemaal vol zit met asfaltmastiek. De uitstroomopeningen in de verdeelbuis kunnen door 8 schuiven, die twee aan twee gekoppeld zijn, worden afgesloten. Onder aan de verdeelbuis zit een taster, die er met behulp van een deiningscompensator voor zorgt dat de uitstroomopeningen zich steeds op de juiste afstand van de zeebodem bevinden, terwijl de apparatuur met niet meer dan een paar honderd kilo op de grond drukt. De verdeelbuis kan in twee onderling loodrechte standen aan de verticale toevoerpijp worden verbonden. Rond de uitstroomopeningen en in het onderste gedeelte van de verdeelbuis is een oliecircuit aangebracht dot wordt verwarmd door een elektrische kachel boven op de verticale toevoerbuis.[1].
Werkzaamheden
Het eerste werk van de Jan Heijmans was eind 1968 het aanbrengen van de asfaltbescherming tussen de middenstrook en de randen van het bezinksveld voor de sluiting van het Brouwershavense Gat. De asfaltbanen zijn toen gelegd in banen van 5 m breedte en 15 cm dikte. Deze banen overlapten elkaar dakpansgewijs over 2,50 m, zodat ze uiteindelijk een aaneengesloten 30 cm dikke mat zouden vormen. De banen werden gelegd in de stroomrichting, waarbij het schip zich verplaatste van oost naar west. Wanneer dan de westelijke rand van een baan was bereikt werd het schip terugverhaald naar het oostelijk begin van de volgende baan. De banen in elk vak werden achtereenvolgend van zuid naar noord gelegd. Om een goede aansluiting te verkrijgen tussen de asfaltbescherming en de eraan grenzende zinkstukken werd voor een overlapping van 5 m gezorgd.[2].
Mattenlegger
In 1974 is de Jan Heijmans omgebouwd tot mattenlegger. Het schip is daartoe verlengd en er is een afrolmechanisme voor matten toegevoegd. Op het schip zelf werd de mat vervaardigd en daarna gelijk afgerold naar de bodem. De afmetingen van het schip zijn zo gewijzigd, dat de stabiliteit voldoende was om de vereiste nauwkeurigheid bij het leggen van de stukken onder normale werkomstandigheden te garanderen. Deze nauwkeurigheid is gedefinieerd als een toegelaten speling op de bodem van 1 m, bij golven van 50 cm hoogte en een periode van 4 seconden en bij stroomsnelheden tot 1 m per seconde. De hoofdafmetingen van het schip zijn na de verbouwing: lengte 97,20 m, breedte 23,30 m en holte 5,15 m. De werkdiepgang, die onder meer afhankelijk is van de hoeveelheid ballast in de ballasttanks en de op het schip opgeslagen bouwmaterialen, bedraagt gemiddeld 2,50 m.
In het casco zijn een aantal droge tanks geplaatst, alsmede diverse tanks voor de opslag van zout-waterballast en voor drinkwater; verder twee bitumentanks voor de opslag van totaal 300 ton bitumen, twee vulstoftanks voor totaal 340 ton vulstof, vijf brandstoftanks voor 40 ton gasolie en 120 ton stookolie, drie machinekamers en ruimten voor de elektrische en hydraulische installaties, verwarming, compressoren en berging. Het casco bergt daarnaast ook nog 13 manschappenverblijven waarin totaal 24 personen kunnen overnachten.


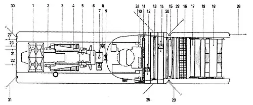
| 1 silo | 10 haspel filerdoek | 19 vijzel aandrijving matrol | 28 voor-zijdraad |
| 2 koude ladder | 11 spijkerrol | 20 voorraadhaspel wapeningsgaas | 29 voor-zijdraad |
| 3 droogtrommel | 12 1e verdeelwagen | 21 achterdraad zinkbalk | 30 achter-zijdraad |
| 4 ontstoffing | 13 haspel wapeningsgaas | 22 achterdraad zinkbalk | 31 achter-zijdraad |
| 5 warme ladder | 14 2e verdeelwagen | 23 losdraad zinkbalk | 32 vulstoftank |
| 6 menginstallatie | 15 hulpbak | 24 stuurdraad zinkbalk | 33 centraal bedieningshuis |
| 7 roerketel | 16 opslag betonblokken | 25 stuurdraad zinkbalk | 34 traverse met bovenlooptakels |
| 8 menggiet asfaltlift | 17 staartbalk | 26 boegdraad | 35 traverse met bovenlooptakels |
| 9 transportkubel | 18 matrol | 27 hekdraad | 36 profiler |
Bovendeks staat op de ene helft van het schip de asfaltproduktie-installatie opgesteld, die een capaciteit heeft van ten minste 250 ton steenasfalt per uur en die bestaat uit een overslagkraan met een hijsbereik van 10 ton op 18 m, vier silo's voor de opslag van 150 ton zand en 150 ton steenslag, twee droogtrommels, twee warme ladders voor het drogen van respectievelijk het zand en de steenslag, twee roerketels met een inhoud van 25 ton en 50 ton voor de opslag van het menggietasfalt, en een lift voor het transport van het menggietasfalt vanuit de onderste roerketel naar de hooggeplaatste menginstallatie. De andere zijde van het dek wordt in beslag genomen door een installatie voor de vervaardiging van steenasfaltmatten. Er is daar een horizontaal productieplatform dat als een hellingzate afloopt naar de matrol aan de voorzijde van het schip, en uit twee transportbakken die het steenasfalt langs respectievelijk ter bakboord- en stuurboordzijde van het schip aangebrachte railbanen vervoeren van de menginstallatie naar tweesteenasfalt-verdeelwagens, die zich over twee traversen dwarsscheeps boven het productieplatform kunnen verplaatsen, Boven het productieplatform zijn voorts haspels met filterdoek geplaatst en nietmachines die de banen van het filterdoek moeten verbinden tot de vereiste breedte van 17 m, een haspel voor het afwikkelen van het 16,60 m brede wapeningsgaas en twee voorraadhaspels voor wapeningsgaas, ondersteuningen voor het afleggen van lege haspels, vier boven geplaatste rekken voor de berging van de betonblokken die nodig zijn voor de randverzwaringen van de steenasfaltmatten, een spijkerrol die remkracht op het zinkstuk moet leveren tijdens het oprollen van de steenasfaltmat op de matrol via het aflopende productieplatform en een geperforeerde buis voor de waterkoeling van de warme steenasfaltmat, alvorens zij wordt opgerold. Boven het productieplatform is langsscheeps een kraanbaan met loopbordessen aangebracht, waarover een traverse kan bewegen die op haar beurt weer is voorzien van een vaste en een verrijdbare bovenlooptakel, beide met een hefvermogen van 16 ton. In de taatsen aan de oren van het casco aan het vooreinde van het schip is de matrol - die 17,10 lang is en een diameter heeft van 8 m - opgelegd. De beweging van de rol en daarmede ook het open afspoelen van de steenasfaltmat geschiedt met aan weerszijden van de rol op het casco geplaatste hydraulische vijzels met elk een trekvermogen van 250 ton. De rol wordt langzaam rondgewenteld door afwisselende werking van deze vijzels op de rol.
Bovendeks vindt men ook het centrale bedieningshuis, de keuken en de messroom, een laboratorium, was- en magazijnruimten en nog een vulstoftank voor 300 ton vulstof. Op het dek zijn zes verhaallieren geplaatst, drie op het achterdek voor het hekanker en twee achter-zijankers en drie op het voordek voor het boeganker en twee voor-zijankers; op het achterdek staat verder een drietrommellier en op het voordek een viertrommellier (met twee reservetrommels), van waaruit de manipulaties met de zinkbalk tijdens het leggen van de steenasfaltmat worden geregeld[3].
Omklappen en overdruk
Bij de Oosterschelde deed zich het probleem voor dat door de heen-en-weer gaande getijstroom de dakpansgewijze gelegde bitumenmatten zouden kunnen omklappen. Bovendien kan (omdat de bitumenmat niet doorlatend is) er overdruk onder de mat ontstaan waardoor hij iets opgetild wordt.Ook hierdoor kan de mat omklappen. Dit probleem kon voorkomen worden door de onderste mat goed zandvrij te maken, zodat de bovenste mat aan de onderste vast kon kleven. Hiervoor is de Jan Heijmans uitgerust met een aantal extra spuitlansen.[4]
Grindstorter
In een latere fase van de Oosterscheldewerken is de Jan Heijmans nogmaals aangepast om het ook mogelijk te maken om met dit schip een grindbed te storten. Bodemmatten werden meestal met een overlap gelegd, maar de matten onder de kering mochten geen overlap hebben, omdat dit een verdikking geeft die ontoelaatbaar is. Daarom werden die matten met een kleine tussenruimte gelegd, die de merkwaardige naam "negatieve overlap" heeft gekregen. Die ruimte tussen de matten moest wel beschermd worden, en dat moest met grof zeegrind gebeuren. Hiertoe werd de Jan Heijmans uitgerust met een aantal stortpijpen. Om de benodigde nauwkeurigheid te bereiken kan het filter namelijk niet aan de oppervlakte gelost worden, maar moet het vlak bij de bodem worden gestort. Allereerst moet er een ontzandingsapparaat gehaald worden over de matten aan weerszijden van de 3 m brede onbeschermde strook. De Jan Hijmans had daartoe een spuitinstaliatie van 18 m breed, die tot 50 cm aanzanding in één keer kan wegblazen. Om de vorm van het te ontzanden gebied goed te kunnen volgen is de ontzandingsinstallatie opgebouwd uit vijf scharnierende secties. Pas na de ontzanding kan het losse filter tussen de matten worden gestort.
Met een voortgangssnelheid van maximaal 5 m per minuut kan er nu een laag grind van 85 cm dik gestort worden. Aan de stortpijp is, om het materiaal goed te verdelen, een doseerapparaat verbonden, een ronddraaiende stalen rol. Op deze wijze kan de grindstorter per uur 2200 ton materiaal aanbrengen op de bodem. Om de filterlaag tegen erosie te beschermen totdat de drempel verder wordt opgebouwd, is er eerst een laag van 40 cm grof grind overeen aangebracht. Dit gebeurt via een tweede stortpijp in dezelfde werkgang. In een volgende werkgang wordt daar dan nog een dikke laag breuksteen overheen gebracht. Voor elke tussenruimte tussen twee matten is 3500 ton steen nodig.[5]. De ervaring met de valpijp van de Jan Heijmans heeft aan de basis gestaan van de valpijpschepen die vanaf ca 2000 gebruikt werden voor het bestorten van pijpleidingen onder water.
- ↑ (februari 1967). Het asfaltschip. Driemaandelijks bericht Deltawerken 43: 147-152 (Rijkswaterstaat, Deltadienst). ISSN: 0011-8079. Geraadpleegd op 22-10-2020.
- ↑ (november 1968). Het aanbrengen van een bodembescherming van asfalt in het zuidelijk sluitgat van het Brouwershavensche Gat. Driemaandelijks bericht Deltawerken 48: 416-422 (Rijkswaterstaat, Deltadienst). ISSN: 0011-8079. Geraadpleegd op 22-10-2020.
- ↑ (februari 1974). De nieuwe 'Jan Heijmans'. Driemaandelijks bericht Deltawerken 67: 362-273 (Rijkswaterstaat, Deltadienst). ISSN: 0011-8079. Geraadpleegd op 22-10-2020.
- ↑ (november 1980). [http://resolver.tudelft.nl/uuid:596c2538-9ef5-4568-8396-12d8811d4956 Het asfaltmastiek voor de stortebedden nader onderzocht]. Driemaandelijks bericht Deltawerken 94: 189-194 (Rijkswaterstaat, Deltadienst). ISSN: 0011-8079. Geraadpleegd op 22-10-2020.
- ↑ (februari 1983). Ontwerp en bouw van het bijzondere materieel. Driemaandelijks bericht Deltawerken 103: 138-145 (Rijkswaterstaat, Deltadienst). ISSN: 0011-8079. Geraadpleegd op 28-10-2020.
.jpg)