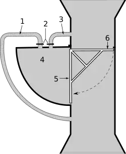
Waaiersluis

1: omloopriool
2: afsluiter
3: omloopriool
4: waaierkas-/kelder
5: grote deur (6/5 × kleine deur)
6: kleine deur
Een waaiersluis is een speciale sluis, die als voornaamste eigenschap heeft dat hij tegen de waterdruk in geopend en gesloten kan worden.
Geschiedenis
De waaiersluis werd in 1778 uitgevonden door Jan ten Holt in Kampen. [1] Als stadsarchitect van Kampen moest hij het probleem van de Staphorster sluis oplossen. De scheepvaartsluis te Zwartsluis was ook een uitwateringssluis. Deze dam sloot het Meppelerdiep af van het Zwartewater. Er kon alleen geschut wanneer er water vanuit het Zwartewater het Meppelerdiep in wilde stromen. Als er veel regen gevallen was, was de waterstand in het Meppelerdiep hoog en daardoor de stroomsnelheid in de sluis zo hoog door uitstromend water dat de schepen er niet door konden. Het was dan ook eigenlijk geen echte schutsluis, maar meer een keersluis met spuifunctie. De stadsarchitecten van Zwolle, Derk Swens, en Kampen werd om een ontwerp gevraagd, dat ter beoordeling voorgelegd werden aan de destijds bekende sluizenbouwer Cornelis Redelykheid. Jan ten Holt uit Kampen kwam met de waaiersluis (die hij tegenhouder noemde). Dirk Swens uit Zwolle kwam met een toldeur. Redelykheid vond beide oplossingen niet goed en ontwierp een sluis met puntdeuren met extra schuiven (een systeem wat uitgevonden was door Simon Stevin of zijn zoon Hendrik Stevin). Dat ontwerp is uiteindelijk ook gebouwd.
Later beweerde Jan Blanken dat hij de uitvinder was. Hij was de zoon van een dorpstimmerman uit Bergambacht, die van 1808 tot 1826 inspecteur-generaal was voor het zuidelijk deel van Nederland bij het Bureau voor den Waterstaat van de Nederlandse overheid. Blanken deed de eerste proeven met de waaierdeuren in 1808 in IJsselstein, in een inmiddels opgeheven sluis in de Benschopperwetering. Hij verving de puntdeuren als tijdelijke proef door waaierdeuren,[2] waarbij zijn broer, Arie Blanken Janszoon, opzichter was.[3] De proeflocatie werd bezocht door koning Lodewijk Napoleon, in gezelschap van Twent van Raaphorst.
Toen de proef slaagde zijn de deuren op dertig locaties toegepast. Hij publiceerde als eerste over dit sluistype.
De uitvinding van Jan Blanken werd betwist door Adrianus Goudriaan die claimde dat hij dit idee eerder had geopperd voor de scheepvaartsluis te Zwartsluis, die in de dam zat die het Meppelerdiep afsloot van het Zwarte Water. Adrianus Goudriaan was inspecteur-generaal van voor het noordelijk deel van Nederland en wijdde honderden bladzijden aan de kwestie.[4] Later erkende hij dat het ontwerp niet van hemzelf was, maar van Jan ten Holt (1731-1814), stadsarchitect van Kampen, die de constructie in 1778 bedacht. Een uitvoering van het idee van Ten Holt had echter nooit plaatsgevonden. Blanken heeft zijn recht met succes kunnen verdedigen en verkreeg een octrooi op zijn idee, ondanks dat hij niet de eerste was die met het idee van een waaiersluis was gekomen.
Werking
Een waaierdeur bestaat uit twee aan elkaar verbonden delen, die rond kunnen draaien in een komvormige inkassing. Het ene blad heeft een breedte van 5/6 van het andere blad. De twee deuren staan in een hoek van 80 graden.[5] De delen vormen samen een soort waaier. De waaierdeuren kunnen naar beide zijden het water keren. Door de waaierkas via buizen met water te vullen verandert de druk op de deuren zodanig dat deze zowel tegen de stroom in als met de stroom mee bij iedere binnen- of buitenwaterstand open en dicht gedraaid kunnen worden. Omdat deze sluis tegen de waterstand in geopend kan worden is hij met name geschikt voor gebruik bij inundatiewerken, zoals bij Schenkeldijk.
Als een dubbele waaierdeur wordt toegepast functioneren de twee kleinste deuren op dezelfde manier als puntdeuren.
Locaties
Sluizen die volgens dit principe werken zijn er nog op een aantal plaatsen.
Hollandsche IJssel
De Waaiersluis in de Hollandsche IJssel ten oosten van Gouda werd in 1860 in gebruik genomen door de scheepvaart. In de jaren 1854-1856 werd een dam bij Gouda in de rivier gelegd met daarin een spuisluis en een schutsluis. De dam met het sluizencomplex vormt dus de scheiding tussen het getijdegedeelte van de Hollandsche IJssel en de gekanaliseerde Hollandsche IJssel. De schutsluis in het complex heeft vier paar puntdeuren, namelijk in beide sluishoofden een paar ebdeuren en een paar vloeddeuren. Door deze constructie kan zowel tijdens hoogwater als tijdens laagwater geschut worden. In het tussenhoofd bevinden zich de waaierdeuren. Aan de waaierdeuren heeft de Waaiersluis zijn naam te danken. Deze deuren worden in de eenentwintigste eeuw nog gebruikt. In 2018 zijn nieuwe deuren geplaatst. De oude kregen een plek in het Waterliniemuseum Fort bij Vechten.[2]
Utrecht
De Weerdsluis in de Vecht in Utrecht heeft een waaierdeur, die gebruikt werd voor het spuien.[2]
Schenkeldijk
De Papsluis is een inundatiewaaiersluis in de Schenkeldijk bij Werkendam. De sluis is in 1815 opgenomen in een dijk tussen twee polders. Wanneer een van de twee polders onder water staat, voorkomt de sluis dat het water de andere polder instroomt. Wanneer beide polders onder water staan, is er een doorgang voor boten door de dijk. Deze sluis is een onderdeel van de Nieuwe Hollandse Waterlinie. Deze sluis is in 2007 gerestaureerd en weer voorzien van houten sluisdeuren. Het Waterliniepad loopt over de weg over de sluis.
Flevoland
Alle sluizen in de dijk rond Flevoland beschikken over een stel waaierdeuren, die alleen in geval van nood en bij onderhoud gebruikt worden.
Andel
De Wilhelminasluis in Andel heeft aan twee zijden waaierdeuren. De sluis is gebouwd rond 1896 om bij de scheiding van de Maas en de Waal om scheepvaart mogelijk te laten blijven. De sluis is nog steeds in gebruik.
Kampen
De voormalige Roggebotsluis nabij Kampen had aan één zijde waaierdeuren. De sluis lag op de weg van Kampen naar Dronten en vormde de vaarverbinding tussen het Drontermeer en het Vossemeer. De sluis werd tot de sloop in 2023 dagelijks gebruikt. De functie van de Roggebotsluis is overgenomen door de Reevesluis.[6]
Bourtange
Nabij de vestingstad Bourtange ligt de Bourtangesluis. Deze heeft op het benedenhoofd een waaierdeur.
Dintelse Gorsen
Het Benedensas vormt de monding van de Steenbergse Vliet in het Volkerak. In het buitenhoofd zijn waaierdeuren opgenomen.
Diest (België)
Waaiersluis (enig in België) als onderdeel van de Saspoort in de stadswallen van Diest. Gebouwd tussen 1837 en 1844. Deze sluis liet toe de vlieten in de stad en de vesten te voorzien van water uit de Demer (rivier) en verzekerde tegelijkertijd de afwatering van de Begijnebeek.
Fotogalerij
- Waaiersluis bij Fort Asperen
Waaierdeur van de Korenbrugsluis in Gorinchem
Wilhelminasluis in Andel
Waaierdeur in het buitenhoofd van de Benedensas
Externe link
- Binnenvaarttaal, Fotoreportage over de werking van de waaiersluis te Gouda in twee delen.
- ↑ van der Schrier, Dirk (2012). Hoe Jan ten Holt in Kampen de waaiersluis uitvond. Kamper Almanak 2012
- 1 2 3 Hoogheemraadschap De Stichtse Rijnlanden, Bijzondere sluisdeuren uit de waaiersluis bij Gouda naar Waterliniemuseum Fort bij Vechten. HDSR. Geraadpleegd op 6 juni 2020.
- ↑ (en) Historische Kring IJsselstein 1992-61/62 juli - 1997-80 mrt.. Gedigitaliseerde objecten van de Bijzondere Collecties Universiteitsbibliotheek Utrecht. Geraadpleegd op 6 juni 2020.
- ↑ Goudriaan, Adrianus François (1809). Verhandeling over het ontwerp van sluizen, volgens de uitgave van den heer Jan Blanken. Van Esveldt-Holtrop, p. 245-301.
- ↑ (en) Historische Kring IJsselstein 1992-61/62 juli - 1997-80 mrt.. Gedigitaliseerde objecten van de Bijzondere Collecties Universiteitsbibliotheek Utrecht. Geraadpleegd op 6 juni 2020.
- ↑ Waterstaat, Ministerie van Infrastructuur en, 66 jaar Roggebotsluis: einde van een tijdperk. www.rijkswaterstaat.nl. Geraadpleegd op 28 april 2023.