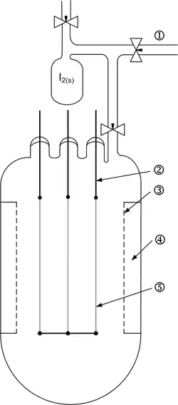
Van Arkel-de Boerproces

(1) vacuümpomp
(2) elektrode van molybdeen (6 mm)
(3) molybdeennet
(4) ruimte voor de ruwe grondstof
(5) wolfraamdraad
Het Van Arkel-de Boerproces, ook wel aangroeiproces, crystal bar process of jodideproces genoemd, is een door Anton Eduard van Arkel en Jan Hendrik de Boer in 1930 ontwikkeld chemisch proces voor het zuiveren van metalen zoals titaan, zirkoon, hafnium, vanadium, thorium, chroom en protactinium.
Procesbeschrijving
Het te zuiveren metaal (meestal als een onzuiver erts of legering) wordt samen met di-jood (I2) in een reactorvat onder een vacuüm van 0,1 tot 20 Pa samengebracht en vervolgens verhit. Bij het zuiveren van titaan is de reactietemperatuur bijvoorbeeld ongeveer 800 °C.
Bij deze temperatuur wordt gasvormig jodium (I2) gevormd, dat vervolgens met het metaal reageert tot het overeenkomstige jodide, bijvoorbeeld titaan(IV)jodide (TiI4). Door de hoge temperaturen is dit metaaljodide ook gasvormig, en het stijgt door convectie op tot boven in het reactievat. Bovenin bevindt zich een metaaldraad, gewoonlijk vervaardigd uit wolfraam, die een nog hogere temperatuur heeft. Bij deze hogere temperatuur is het metaaljodide niet meer stabiel, en ontleedt het tot het zuivere metaal en jodium. Het zuivere metaal wordt hierbij op de gloeidraad afgezet, terwijl de jodiumdamp die vrijkomt, opnieuw met het metaal onderaan het reactievat kan reageren. De selectiviteit in dit proces wordt veroorzaakt doordat het sublimatiepunt van een metaaljodide lager ligt dan dat van het metaal zelf, en dat het metaaljodide weer ontleedt bij nog hogere temperaturen. De meeste verontreinigingen blijven achter in het residu op de bodem omdat zij niet met het jodium reageren, of omdat de reactieproducten niet sublimeren bij de gebruikte temperatuur en druk.
Het proces maakt gebruik van de verschuiving van het evenwicht in de chemische reactie tussen het metaal en jodium. Deze reactie is exotherm, hetgeen impliceert dat bij hoge temperatuur het evenwicht naar de linkerkant verschuift. Zo verloopt de voorwaartse reactie tussen titaan en jodium bij 600 °C, terwijl de teruggaande reactie bij 1200 °C doorgaat:
De reactie is exotherm met een enthalpie (ΔH) van −427 kJ/mol.[1]
Ook in een halogeenlamp wordt gebruikgemaakt van dit proces. Door de hoge temperatuur sublimeert wolfraam deels, en slaat het neer op het veel koudere glas. Kleine hoeveelheden jodium en chloor zetten het wolfraam, voornamelijk dat op het glas, vervolgens om in respectievelijk wolfraam(III)jodide (WI3) en wolfraam(IV)chloride (WCl4). Door de veel hogere temperatuur van de gloeidraad zelf verschuift het evenwicht naar de zijde van de reactanten, zodat het wolfraam op de gloeidraad wordt afgezet en zo de sublimatieverliezen deels terugdraait. Aangezien de hoogste temperaturen optreden op de plaatsen waar de gloeidraad het dunst is, slaat het materiaal het snelst neer waar de grootste behoefte bestaat ter voorkoming van doorbranden.
Producten
Onderstaande afbeeldingen tonen metalen van hoge zuiverheid, die werden geproduceerd met behulp van het Van Arkel-de Boer proces:
Zie ook
- Kroll-proces
- ↑ Prof. Dr. H.-F. Klein, Grundlagen der Experimentalchemie 83. TU Darmstadt. Geraadpleegd op 30 maart 2011.

