Helmstok



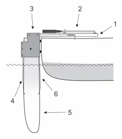
Een helmstok (ook helmhout) is een stok die het roer van een (klein) schip bedient. Hij is gewoonlijk vervaardigd van hout of van aluminium.
Bij simpele constructies is de helmstok direct aan de bovenkant van het roerblad bevestigd. Hij kan echter ook bevestigd zijn aan de roerkop, waaraan dan tevens het roerblad is bevestigd.
De helmstok biedt een grotere bewegingsvrijheid voor de roerganger. Bovendien kan er een groter koppel mee worden verricht, waardoor het sturen met minder spierkracht kan geschieden. Daarnaast kan de beweging beter worden gedoseerd, zodat het sturen nauwkeuriger geschiedt. Eventueel kan nog een helmstokverlenger worden aangebracht, waardoor de bewegingsvrijheid van de roerganger verder wordt vergroot. Dit kan van belang zijn bij (zeil)boten die door slechts één persoon worden bediend en/of bij uithangen.
Een alternatief mechanisme waarmee het sturen van een schip kan worden ondersteund, is het stuurwiel. Dit vindt ook zijn toepassing bij grotere schepen.
Het woord werd al in 1465 schriftelijk gebruikt als helmstoc.[1]
- ↑ Haags liederenhandschrift, lied 98 (Van den scepe), regel 179 (link). Gearchiveerd op 31 mei 2023.