Gaslift
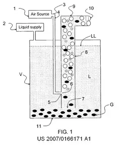
Een gaslift, airlift, bellenpomp of mammoetpomp,[1] is een pomptechniek waarbij een vloeistof verplaatst wordt via een verticale buis waar onderin de vloeistof en een gas instromen. Het gas wordt onder druk toegevoerd. Het mengsel van vloeistof en gas in de buis maakt de vloeistofkolom lichter waardoor een stroming van onder naar boven ontstaat.
Bij een gaslift wordt gas in een (aard)olieput geïnjecteerd om de productie te stimuleren. Het mengsel van olie en gas in de put maakt de vloeistofkolom lichter waardoor bij gelijkblijvende druk in het reservoir de productie op gang komt of toeneemt. Bovengronds wordt het gas van de olie gescheiden en na compressie deels opnieuw geïnjecteerd.
Deze techniek wordt ook in een IBA-installatie toegepast. Actief slib vermengd met water wordt uit de nabezinktank terug gepompt via een gaslift. Ook in sommige zandfilters wordt constant zand rondgepompt met een mammoetpomp.[2]
Ook bij een koffiepercolator speelt dit werkingsprincipe een rol. Het gas is dan waterdamp wat ontstaat door het water in de stijgbuis te verwarmen.
In een aquariumfilter wordt soms een bellenpomp gebruikt om met een klein luchtpompje water door een filter te pompen.
Zie ook
Bronnen
- ↑ woorden-boek.nl
- ↑ nordicwater.com. Gearchiveerd op 3 juni 2023.