Flesopener



Een flesopener is handgereedschap om een flesje met een metalen afsluiting te openen of een kroonkurk te verwijderen.
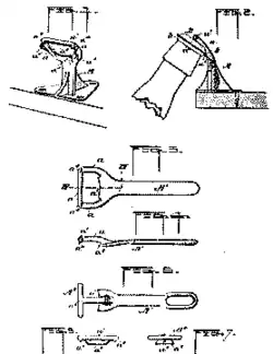
Misschien wel de bekendste is die van William Painter, die, als handige aanvulling op de kort daarvoor door hem vervolmaakte crown cork, voor zijn Capped-Bottle Opener op 5 juni 1893 patent aanvroeg en dat op 6 februari 1894 ook kreeg.[1] Painters Capped Bottle-Opener lijkt sterk op de Bottle-Uncapping Tool die op 11 juli 1893 door Alfred Louis Bernardin werd gepatenteerd.[2] Het voornaamste verschil is dat Painters opener draagbaar is, terwijl het model van Bernardin aan een tafel bevestigd zit.
Naast flesopeners die in de hand worden gehouden, bestaan er ook modellen die aan de muur zijn bevestigd, zodat men voor het openen van de fles slechts één hand nodig heeft. Men vindt deze onder meer in horecagelegenheden. Multifunctionele zakmessen zijn soms van een flesopener voorzien. Ook kurkentrekkers, met name vleugelkurkentrekkers zijn soms voorzien van een flesopener.
Zwitsers zakmes met flesopener (en schroevendraaier) geopend.
Zie ook
- ↑ (en) Patent nr. 514200 (Capped-Bottle Opener)
- ↑ (en) Patent nr. 501050 (Bottle-Uncapping Tool). Gearchiveerd op 11 juni 2016.